Vai al contenuto principale
  • Tutte le news
  • Approfondimenti
  • Attualità
  • Curiosità
  • Test
  • Turismo
  • Listino nuovo
  • Annunci moto
Guardaci su Youtube
Abbonati ora
Leggi la rivista
Abbonati
Abbonati oraLeggi la rivista

Temi caldi

  • Viaggi in moto
  • Migliori moto: le top 10
  • youtube
Yamaha

NotizieYamaha

  • Modelli
  • Annunci
  • Notizie
  • Foto
  • Video
Yamaha Ténéré 700: una gamma di accessori per ogni esigenza
Accessori

Yamaha Ténéré 700: una gamma di accessori per ogni esigenza

La Casa di Iwata propone 3 kit per personalizzare la propria compagna d'avventure: ecco i prezzi e le informazioni (anche dei componenti venduti singolarmente)

Marco MariniMarco Marini

19 giugno
Yamaha Tracer 9 GT: piacere di guida notturna con i fanali Matrix LED
Approfondimenti

Yamaha Tracer 9 GT: piacere di guida notturna con i fanali Matrix LED

Diego D'AndreaDiego D'Andrea

18 giugno
Yamaha Tracer 9 GT: le opinioni di InMoto "fuori dai denti"
Approfondimenti

Yamaha Tracer 9 GT: le opinioni di InMoto "fuori dai denti"

Diego D'AndreaDiego D'Andrea

17 giugno
Cambio automatico in moto: è una richiesta del mercato o una tecnologia imposta?
Approfondimenti

Cambio automatico in moto: è una richiesta del mercato o una tecnologia imposta?

Michele LallaiMichele Lallai

3 giugno
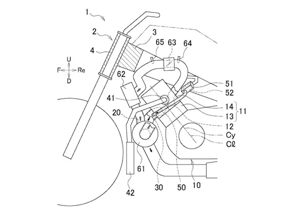
Yamaha brevetta un turbo elettrico per il motore 3 cilindri
Attualità

Yamaha brevetta un turbo elettrico per il motore 3 cilindri

Alessandro VaiAlessandro Vai

27 maggio
Yamaha R9, Tsuya Kouji: "La volevamo più accessibile e abbordabile"
Approfondimenti

Yamaha R9, Tsuya Kouji: "La volevamo più accessibile e abbordabile"

Abbiamo fatto un'interessante chiacchierata con il Project Leader della Casa giapponese per scoprire come è nata la supersportiva, quali sono state le parti più difficili da proggettare e molto altro

Marco MariniMarco Marini

27 maggio
Yamaha Tricity 125: lo scooter a tre ruote si evolve per il 2025
Anteprime

Yamaha Tricity 125: lo scooter a tre ruote si evolve per il 2025

Michele PantanellaMichele Pantanella

26 maggio
Yamaha Tracer 7 2025 Vs. Tracer 7 2021: come cambia
Approfondimenti

Yamaha Tracer 7 2025 Vs. Tracer 7 2021: come cambia

Michele LallaiMichele Lallai

19 maggio
Test Yamaha Tracer 9 GT+ Y-AMT: i voti del #SottoEsame
Primo Contatto

Test Yamaha Tracer 9 GT+ Y-AMT: i voti del #SottoEsame

Michele LallaiMichele Lallai

14 maggio
Yamaha Tracer 7 e GT: un pieno di novità per il 2025
Anteprime

Yamaha Tracer 7 e GT: un pieno di novità per il 2025

9 maggio
Yamaha: la nuova Tracer 9 Y-AMT arriva nelle concessionarie
Crossover

Yamaha: la nuova Tracer 9 Y-AMT arriva nelle concessionarie

Michele PantanellaMichele Pantanella

7 maggio
Yamaha Ténéré 700, debutto in vetrina per il my 25: ecco il prezzo e come va
Crossover

Yamaha Ténéré 700, debutto in vetrina per il my 25: ecco il prezzo e come va

23 aprile
Trike del futuro: Yamaha brevetta il veicolo che si inclina con intelligenza artificiale
Curiosità

Trike del futuro: Yamaha brevetta il veicolo che si inclina con intelligenza artificiale

16 aprile
La Yamaha Ténéré 700 Édition Yamalube si può vincere, ma solo in Francia
Off-Road

La Yamaha Ténéré 700 Édition Yamalube si può vincere, ma solo in Francia

Alessandro VaiAlessandro Vai

16 aprile
TEST YAMAHA Ténéré 700 std e Rally: i voti del #sottoesame
Primo Contatto

TEST YAMAHA Ténéré 700 std e Rally: i voti del #sottoesame

Marco MariniMarco Marini

7 aprile
Test Yamaha TMAX Tech MAX 2025: i voti del #SottoEsame
Primo Contatto

Test Yamaha TMAX Tech MAX 2025: i voti del #SottoEsame

Diego D'andreaDiego D'andrea

1 aprile
TEST YAMAHA MT-07 e MT-07 Y-AMT 2025: i voti del #SottoEsame
Test

TEST YAMAHA MT-07 e MT-07 Y-AMT 2025: i voti del #SottoEsame

Diego D'AndreaDiego D'Andrea

28 marzo
Yamaha, nuovo logo per festeggiare i 70 anni e la filosofia Kando: ma cosa vuol dire?
Attualità

Yamaha, nuovo logo per festeggiare i 70 anni e la filosofia Kando: ma cosa vuol dire?

11 marzo
Yamaha, torna Open Weekend: dove e quando testare la gamma 2025
Attualità

Yamaha, torna Open Weekend: dove e quando testare la gamma 2025

10 marzo
Test Yamaha Tracer 9 GT 2025: i voti del #SottoEsame
Primo Contatto

Test Yamaha Tracer 9 GT 2025: i voti del #SottoEsame

Diego D'AndreaDiego D'Andrea

7 marzo
Precedente
  • 1
  • 2
  • 3
  • ...
  • 26
Successiva
Copertina InMoto
Copertina InMoto
Copertina InMoto

Insieme per passione

Abbonati all’edizione digitale e leggi la rivista, gli arretrati e i contenuti multimediali su tutti i tuoi dispositivi.

Abbonati a partire da € 21,90

Abbonati

Sei già abbonato?Accedi e leggi

Iscriviti alla newsletter

Le notizie più importanti, tutte le settimane, gratis nella tua mail

Premendo il tasto “Iscriviti ora” dichiaro di aver letto la nostra Privacy Policy e di accettare le Condizioni Generali di Utilizzo dei Siti e di Vendita.

Network

  • Auto
  • Autosprint
  • Inmoto
  • Motosprint
  • Guerin Sportivo
  • Store

Utilities

  • News
  • Test
  • Turismo
  • Anteprime
  • Scooter
  • Green
  • Abbigliamento
  • Accessori
  • Foto
  • Video
  • Newsletter
  • Condizioni Generali
  • Nota Legale
  • Cookie Policy
  • Abbonamenti
  • Privacy Policy
  • Pubblicità
  • Mappa del sito
  • Edizione Digitale

Corriere dello Sport S.r.l. • Copyright © 2025
Partita IVA: 00878311000 • Tutti i diritti Riservati

Pagina 2 | Yamaha: tutti i modelli e prezzi aggiornati | InMoto.it